一、受理范围
在姚安县境内的农村集体经济组织修建水库的单位和个人。
二、办理依据
1、《中华人民共和国水法》第二十五条第三款:农村集体经济组织修建水库应当经县级以上地方人民政府水行政主管部门批准。
2、《云南省人民政府关于简政放权取消和调整部分省级行政审批项目的决定》(云政发〔2013〕44号)
三、实施机关
本行政许可实施机关为姚安县人民政府政务服务管理局。
四、审批条件
1、建设项目符合国民经济和社会发展长远规划、流域综合规划、区域综合规划和专业规划,符合水利产业政策和国家有关投资建设方针。
2、初步设计报告的编制单位符合资质要求,初步设计报告的深度符合《编制规程》的要求,项目可行性研究报告已批复,项目建设资金基本落实,项目设计文件资料齐全。
3.有涉及第三者利益关系的承诺书;
4.工程的设计、施工验收必须符合水利工程基本建设有关规定。
五、受理地点
受理地点:姚安县政务服务中心(姚安县栋川镇文兴路6号)
办事窗口:姚安县政务服务中心投资项目综合咨询接件窗口
办公时间:周一至周五 8:00-11:30;14:30-17:30 (节假日除外)
六、申请材料
农村集体经济组织修建水库审批许可申请材料目录
序号 提交材料名称 原件/复印件 纸质/电子文件 份数 要求 依据
1 水工程建设项目申请文件 ■原件
□复印件 纸质材料,应采用A4纸,左侧装订。 3份 申请文件申报事项目清楚、文字清晰、并加盖申报单位公章。
2 由具有相应资质的勘察设计单位完成的水工程项目初步设计报告(含地质等方面专题报告、概算附件、图纸等)及专家审查意见。 ■原件
□复印件 装表完整。 5份 报告附勘察设计单位有效资质证书复印件,有责任表,封面加盖单位公章,每张图纸上增多需加盖出图章;审查意见需有审查专家亲笔签名。
3 项目可行性研究报告批准文件,对立项过程简化,不需报批可行性研究报告的项目,需提交上级主管部门准予直接编制初步设计报告的文件依据 ■原件
■复印件 纸质材料,应采用A4纸,左侧装订。 3份 批准文件应合法、有效,单位公章应和批准文件名称相同。原件考核结束后交还申请单位。
完整齐全、文字清晰。
4 项目建设有关地区、行业或部门的意见或协议文件;工程建设资金筹措文件和审批要求的有关承诺文件 ■原件
□复印件 纸质材料,应采用A4纸,左侧装订。 3份 批准文件应合法、有效,单位公章应和批准文件名称相同。原件考核结束后交还申请单位。
完整齐全、文字清晰。
注:复印件应选用A4纸张,同时加盖公章。
七、审批时限
受理时限:1.通过网上预审符合要求的,纸质材料的网上提交材料核对无误的,当场受理;2.未进行网上预审的,受理期限为5个工作日。
办理时限:申请人提出的农村集体经济组织修建水库审批、依申请变更等业务的办理,办理期限为15个工作日。(实地核查、书面审查时间和企业整改时间不计算在内)。
八、审批收费
不收费
九、共同审批与前置审批
(一)共同审批
无
(二)前置审批
无
十、中介服务
水利工程建设程序管理暂行规定(2017年修订)(1998年1月7日水利部水建〔1998〕16号印发第七条:
1.初步设计是根据批准的可行性研究报告和必要而准确的设计资料,对设计对象进行通盘研究,阐明拟建工程在技术上的可行性和经济上的合理性,规定项目的各项基本技术参数,编制项目的总概算。初步设计任务应择优选择有项目相应资格的设计单位承担,依照有关初步设计编制规定进行编制。
2.初步设计报告应按照《水利水电工程初步设计报告编制规程》(电力部、水利部电办〔1993〕113号)编制。
3.初步设计文件报批前,一般须由项目法人委托有相应资格的工程咨询机构或组织行业各方面(包括管理、设计、施工、咨询等方面)的专家,对初步设计中的重大问题,进行咨询论证。设计单位根据咨询论证意见,对初步设计文件进行补充、修改、优化。初步设计由项目法人组织审查后,按国家现行规定权限向主管部门申报审批。
4.设计单位必须严格保证设计质量,承担初步设计的合同责任。初步设计文件经批准后,主要内容不得随意修改、变更,并作为项目建设实施的技术文件基础。如有重要修改、变更,须经原审批机关复审同意。
十一、年审年检与指定培训
无
十二、资质资格
无
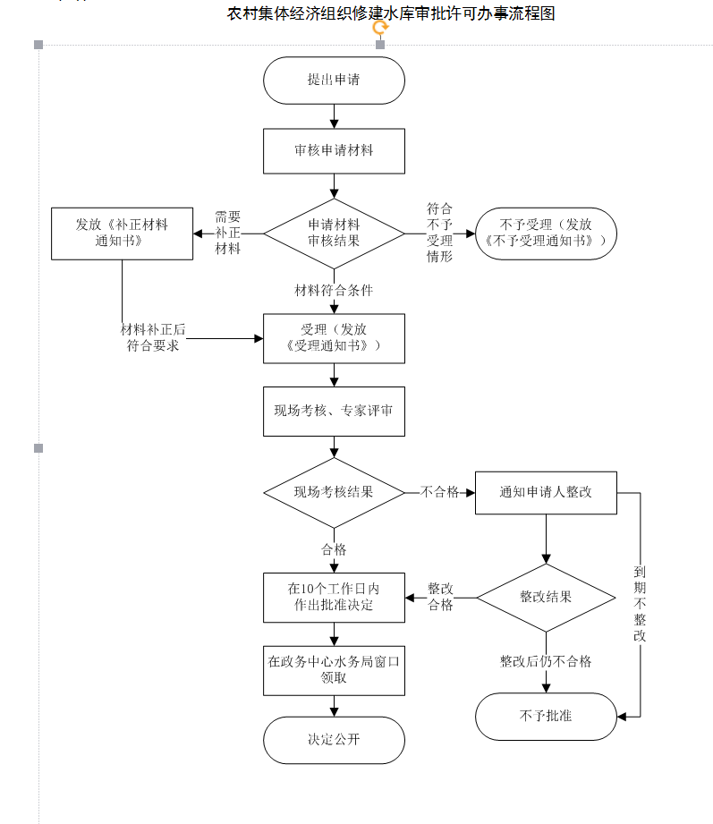
十三、审批流程
(一)申请
1.提交方式
(1)窗口提交:姚安县政务服务中心投资项目综合咨询接件窗口(地址:姚安县栋川镇文兴路6号)。
(2)网络提交:云南省政务服务网上大厅(网址:http://ynzwfw.yn.gov.cn/)—>姚安县—>网上办事—>姚安县人民政府政务服务管理局—>农村集体经济组织修建水库审批—>在线办理。
2.提交时间
(1)窗口提交:周一至周五 8:00-11:30;14:30-17:30 (节假日除外)。
(2)网络提交:时间不限。
(二)受理
姚安县人民政府政务服务管理局收到申请单位申请后,在5个工作日作出受理决定。
对申请材料符合要求的,准予受理,并向申请单位发送《受理决定书》。对申请材料不符合要求且可以通过补正达到要求的,将当场或者在5日内向申请单位发送《申请材料补正告知书》一次性告知,逾期不告知的,自收到申请材料之日起即为受理。对申请材料不符合要求的,将作出不予受理的决定,并发出《不予受理决定书》。
(三)审批
姚安县人民政府政务服务管理局在5个工作日内作出是否受理的决定。予与批准的自作出批准决定之日起15个工作日内向申请人出具农村集体经济组织修建水库审批许可决定,不予与批准的应当告知申请人,并说明理由。
十四、审批服务
(一)咨询方式
1.窗口咨询。地址:姚安县政务服务中心投资项目综合咨询接件窗口(地址:姚安县栋川镇文兴路6号)。
2.电话咨询。联系电话:0878-5716007。
3.网络咨询。云南省政务服务网上大厅(网址:http://ynzwfw.yn.gov.cn/)
(二)咨询回复
通过窗口和电话咨询的,将当场得到回复;通过网络咨询的,将在3个工作日内通过云南省政务服务网上大厅咨询系统得到回复。
(三)办理进程查询
窗口查询:姚安县政务服务中心投资项目综合咨询接件窗口(地址:姚安县栋川镇文兴路6号)
网络查询:云南省政务服务网上大厅(网址:http://ynzwfw.yn.gov.cn/)
(四)获取办理结果
自作出决定之日起15个工作日内向申请人出具农村集体经济组织修建水库审批许可决定书及批复文件,由姚安县人民政府政务服务管理局通知申请单位现场领取相关文书。无法送达文书时,应通过网上或电话通知申请人现场领取;申请人10个工作日内未来领取的,通过姚安县人民政府门户网站公告,自公告之日满60天,即视为送达。
(五)监督投诉
窗口投诉:姚安县人民政府政务服务管理局监督检查股,地址:姚安县栋川镇文兴路6号。
电话投诉:姚安县人民政府政务服务管理局监督检查股,电话:0878-5716008。
网上投诉:云南省政务服务网上大厅(网址:http://ynzwfw.yn.gov.cn/)。
信函投诉:姚安县人民政府政务服务管理局监督检查股;通讯地址:姚安县栋川镇文兴路6号;邮政编码:675300。
(六)行政复议或行政诉讼
利害关系人自知道或者应当知道该具体行政行为之日起六十日内向姚安县人民政府申请行政复议,或三个月内向姚安县人民法院提起行政诉讼。
十五、文书表单及办事指南获取
相关文书表单及办事指南可到“云南省政务服务网上大厅—>网上办事—>姚安县人民政府政务服务管理局—>农村集体经济组织修建水库审批—>办事指南”或在受理窗口直接领取。

