国有土地改变用途审批业务手册
一、受理范围
本行政许可适用于姚安县县属单位(企业)出让土地使用权改变用途办理事项的申请。
二、适用对象
需要进行办理国有土地改变用途审批(出让土地规划调整)的用地单位。
1.《中华人民共和国城市房地产管理法》第十八条:土地使用者需要改变土地使用权出让合同约定的土地用途的,必须取得出让方和市、县人民政府城市规划行政主管部门的同意,签订土地使用权出让合同变更协议或者重新签订土地使用权出让合同,相应调整土地使用权出让金。
2.《协议出让国有土地使用权规定》(国土资源部令第21号)第十六条:以协议出让方式取得国有土地使用权的土地使用者,需要将土地使用权出让合同约定的土地用途改变为商业、旅游、娱乐和商品住宅等经营性用途的,应当取得出让方和市、县人民政府城市规划部门的同意,签订土地使用权出让合同变更协议或者重新签订土地使用权出让合同,按变更后的土地用途,以变更时的土地市场价格补交相应的土地使用权出让金,并依法办理土地使用权变十六条更登记手续。
3.《云南省人民政府关于简政放权取消和调整部分省级行政审批项目的决定》(云政发〔2013〕44号)。
四、实施机构
本行政许可办理机关为地方人民政府国土资源主管部门,分为二级,分别为州、县(市)级。
1.楚雄州国土资源局办理范围包括负责全州0.4公顷以上的具体建设项目供地许可的受理、审批和监督管理工作。
2.县(市)国土资源局办理范围包括负责各县(市)0.4公顷以下的具体建设项目供地许可的受理、审批和监督管理工作。
五、许可条件
符合下列条件的,经市、县人民政府土地管理部门和房产管理部门批准,其划拨土地使用权和地上建筑物、其他附着物所有权可以转让、出租、抵押:
1.土地使用者为公司、企业、其他经济组织和个人;
2.领有国有土地使用证;
3.具有地上建筑物、其他附着物合法的产权证明;
4.依照本条例第二章的规定签订土地使用权出让合同,向当地市、县人民政府补交土地使用权出让金或者以转让、出租、抵押所获效益抵交土地使用权出让金。
不符合上述予以批准情形的。
本行政许可无技术、数量限制。
国有土地改变用途审批(出让土地规划调整)行政许可事项申请材料目录
序号 | 材料名称 | 材料形式 | 份数 | 材料来源 | 其他要求 |
1 | 项目单位用地申请 | 原件 | 1份 | 申请人自备 | 1.复印件应选用A4纸张,同时加盖公章。 2.①宗地图1:500或1:1000原件2份,②A3或A4图原件6份,③测绘成果表原件2份,含测绘成果函原件。 |
2 | 申报单位法定代表人身份证明及授权委托书 | 复印件 | 1份 | 申请人自备 | |
3 | 法定代表人及委托代理人身份证; | 复印件 | 1份 | 申请人自备 | |
4 | 营业执照副本和组织机构代码证; | 复印件 | 1份 | 申请人自备 | |
5 | 土地证使用证 | 原件 | 1份 | 申请人自备 | |
6 | 受让人持有的原土地出让合同 | 复印件 | 1份 | 申请人自备 | |
7 | 县政府批准土地变更用途或调整容积率的文件及变更前、后规划条件及附图 | 原件 | 2份 | 申请人自备 | |
8 | 经属地国土资源管理部门审核签章的权籍调查表及指界资料 | 原件 | 2份 | 申请人自备 | |
9 | 建设用地规划许可证、规划条件及附图; | 原件 | 2份 | 申请人自备 | |
10 | 宗地图、测绘成果表 | 原件 | 2份 | 申请人自备 | |
11 | 土地估价报告 | 原件 | 1份 | 申请人自备 | |
八、办理时限
法定办结时限:20个工作日,不含公示、上报政府审批、补缴出让金及补件占用的时间。
承诺办结时限:10个工作日,不含公示、上报政府审批、补缴出让金及补件占用的时间。
九、许可收费
本行政许可事项不收取任何费用。
受理地址:云南省楚雄州姚安县栋川镇姚安县人民政府政务服务中心一楼国土资源服务窗口。
受理时间:8:00—11:30,14:30—17:30,法定节假日除外。
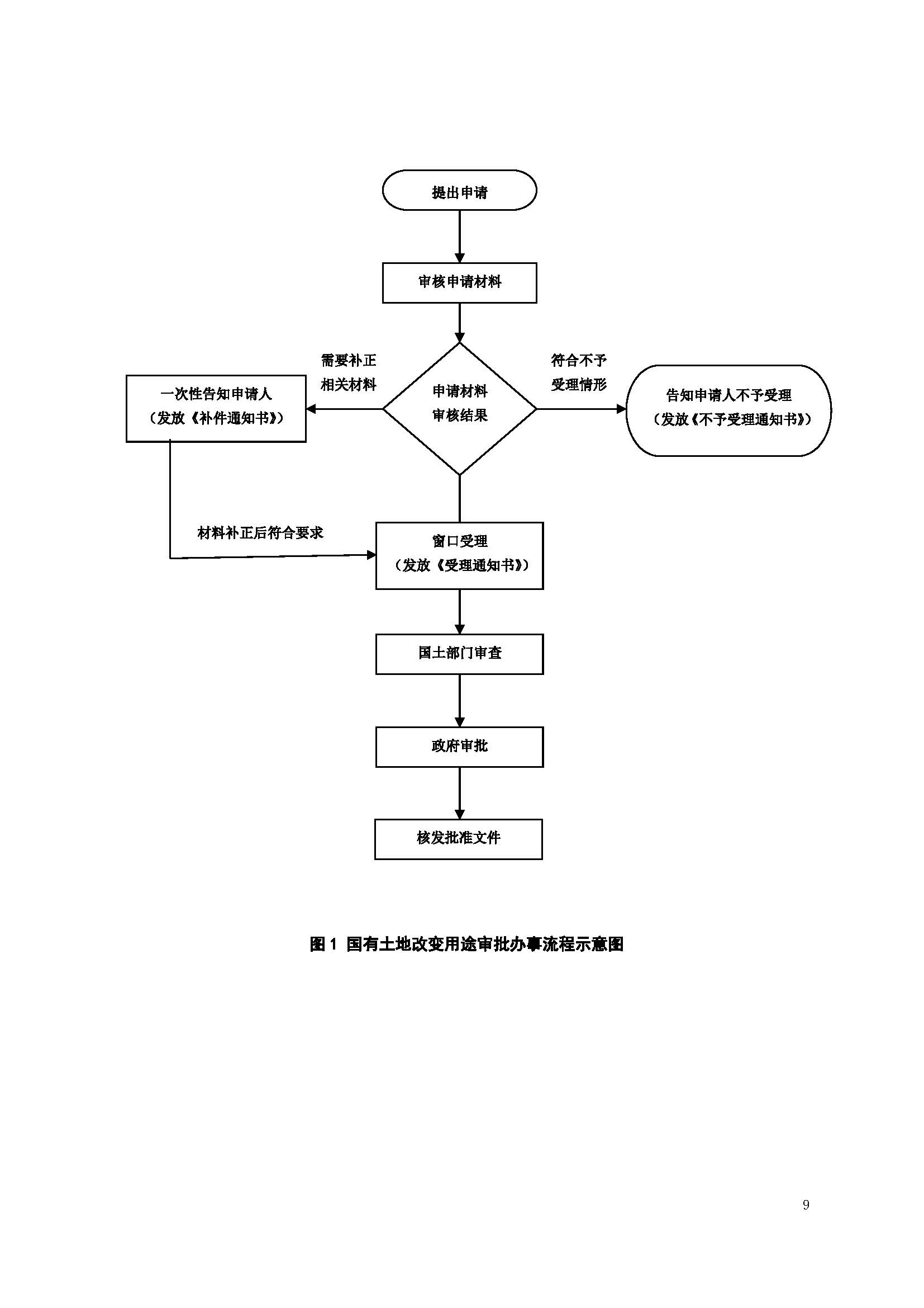
(二)受理
对申请材料符合要求的,准予受理,并向申请单位或个人发送《受理通知书》。对申请材料不符合要求且可以通过补正达到要求的,将当场或者在5个工作日内向单位或个人发送《补正材料通知书》一次性告知,逾期不告知的,自收到申请材料之日起即为受理。对不在受理范围或申请材料不符合要求的,将做出不予受理的决定,并发出《不予受理通知书》。
(三)审查
姚安县国土资源局土地利用股审查和测算补交土地出让金方案后提出初步审查意见,发相关股室会审;各相关股室对报件资料进行会审并提出意见,对提出补件或退件的,将予以补件或退件,并说明理由。通过会审后,土地利用股根据相关股室的会审意见,草拟批复文件。
报分管局领导签署审批意见。
办理结果:批复文件。
送达方式:申请人凭缴费凭证到姚安县人民政府政务服务中心一楼国土资源服务窗口领取批复。
十一、许可服务
1.窗口咨询:云南省楚雄州姚安县栋川镇姚安县人民政府政务服务中心一楼国土资源服务窗口。
2.网上咨询:在云南省政务服务网上大厅(http://ynzwfw.yn.gov.cn)“我要问”进行在线咨询。
3.电话咨询。电话号码:0878-5712892。
(二)办理进程查询
申请人可通过云南省政务服务网上大厅查询审批事项办理进程。
(三)监督投诉
1.电话投诉:县纪委监察委驻县国土资源局0878-5711655;
县人民政府政务服务管理局;县国土资源局0878-5712892。
2.信函投诉:姚安县国土资源局办公室,通讯地址:姚安县栋川镇宝成路73号,邮政编码675300。
十二、事中事后监管
1.检查依据
《中华人民共和国土地管理法》第八十四条规定:土地行政主管部门的工作人员玩忽职守、滥用职权、徇私舞弊,构成犯罪的,依法追究刑事责任;尚不构成犯罪的,依法给予行政处分。
《云南省土地管理条例》第四十一条规定:国家工作人员玩忽职守、滥用职权、徇私舞弊,有下列情形之一的,依法给予行政处分,构成犯罪的,依法追究刑事责任: (一)弄虚作假审批土地的; (二)越权审批土地的; (五)其他不依法执法的行为。
2.岗位职责和权限分工
县市国土资源局在省、州国土资源部门的领导和监督下,负责本行政区域内具体建设项目供地审批监管工作。
3.检查承担机构
州、市(县)国土资源局。
4.检查人员条件
土地管理监督检查人员应当经过培训,经考核合格后,方可从事土地管理监督检查工作。
5.检查对象确定标准
取得国有土地改变用途批复的单位。
许可流程图

国有土地改变用途审批办事指南
一、受理范围
本行政许可适用于姚安县县属单位(企业)出让土地使用权改变用途办理事项的申请。
二、设定及办理依据
设定依据:
(一)《中华人民共和国城市房地产管理法》第四十条 以划拨方式取得土地使用权的,转让房地产时,应当按照国务院规定,报有批准权的人民政府审批。有批准权的人民政府准予转让的,应当由受让方办理土地使用权出让手续,并依照国家有关规定缴纳土地使用权出让金。
以划拨方式取得土地使用权的,转让房地产报批时,有批准权的人民政府按照国务院规定决定可以不办理土地使用权出让手续的,转让方应当按照国务院规定将转让房地产所获收益中的土地收益上缴国家或者作其他处理。
(二)《中华人民共和国城镇国有土地使用权出让和转让暂行条例》第四十四条 划拨土地使用权,除本条例第四十五条规定的情形外,不得转让、出租、抵押;第四十五条 符合下列条件的,经市、县人民政府土地管理部门和房产管理部门批准,其划拨土地使用权和地上建筑物、其他附着物所有权可以转让、出租、抵押:
1.土地使用者为公司、企业、其他经济组织和个人;
2.领有国有土地使用证;
3.具有地上建筑物、其他附着物合法的产权证明;
4.依照本条例第二章的规定签订土地使用权出让合同,向当地市、县人民政府补交土地使用权出让金或者以转让、出租、抵押所获效益抵交土地使用权出让金。
第四十六条 对未经批准擅自转让、出租、抵押划拨土地使用权的单位和个人,市、县人民政府土地管理部门应当没收其非法收入,并根据情节处以罚款。
(三)《划拨土地使用权管理暂行条例》第五条 未经市、县人民政府土地管理部门批准并办理土地使用权出让手续,交付土地使用权出让金的土地使用权者,不得转让、出租、抵押土地使用权。第六条 符合下列条件的,经市、县人民政府土地管理部门和房产管理部门批准,其划拨土地使用权和地上建筑物、其他附着物所有权可以转让、出租、抵押:依照本条例第二章的规定签订土地使用权出让合同,向当地市、县人民政府补交土地使用权出让金或者以转让、出租、抵押所获效益抵交土地使用权出让金。
(四)《云南省城镇国有土地使用权出让和转让实施办法》。
三、实施机关
本行政许可办理机关为地方人民政府国土资源主管部门,分为二级,分别为州、县(市)级。
1.楚雄州国土资源局办理范围包括负责全州0.4公顷以上的具体建设项目供地许可的受理、审批和监督管理工作。
2.县(市)国土资源局办理范围包括负责各县(市)0.4公顷以下的具体建设项目供地许可的受理、审批和监督管理工作。
四、办件类型
本行政许可事项为承诺件,办理方式为一次办。
五、许可条件
(一)予以许可的条件:
符合下列条件的,经市、县人民政府土地管理部门和房产管理部门批准,其划拨土地使用权和地上建筑物、其他附着物所有权可以转让、出租、抵押:
1.土地使用者为公司、企业、其他经济组织和个人;
2.领有国有土地使用证;
3.具有地上建筑物、其他附着物合法的产权证明;
4.依照本条例第二章的规定签订土地使用权出让合同,向当地市、县人民政府补交土地使用权出让金或者以转让、出租、抵押所获效益抵交土地使用权出让金。
(二)不予许可的情形:
不符合上述予以批准情形的。
六、政策、技术、数量限制
本行政许可无政策、技术、数量限制。
七、申请材料
国有土地改变用途审批(出让土地规划调整)行政许可事项申请材料目录
序号 | 材料名称 | 材料形式 | 份数 | 材料来源 | 其他要求 |
1 | 项目单位用地申请 | 原件 | 1份 | 申请人自备 | 1.复印件应选用A4纸张,同时加盖公章。 2.①宗地图1:500或1:1000原件2份,②A3或A4图原件6份,③测绘成果表原件2份,含测绘成果函原件。 |
2 | 申报单位法定代表人身份证明及授权委托书 | 复印件 | 1份 | 申请人自备 | |
3 | 法定代表人及委托代理人身份证; | 复印件 | 1份 | 申请人自备 | |
4 | 营业执照副本和组织机构代码证; | 复印件 | 1份 | 申请人自备 | |
5 | 土地证使用证 | 原件 | 1份 | 申请人自备 | |
6 | 受让人持有的原土地出让合同 | 复印件 | 1份 | 申请人自备 | |
7 | 县政府批准土地变更用途或调整容积率的文件及变更前、后规划条件及附图 | 原件 | 2份 | 申请人自备 | |
8 | 经属地国土资源管理部门审核签章的权籍调查表及指界资料 | 原件 | 2份 | 申请人自备 | |
9 | 建设用地规划许可证、规划条件及附图; | 原件 | 2份 | 申请人自备 | |
10 | 宗地图、测绘成果表 | 原件 | 2份 | 申请人自备 | |
11 | 土地估价报告 | 原件 | 1份 | 申请人自备 | |
七、办结时限
受理时限:5个工作日。
法定办结时限:20个工作日,不含公示、上报政府审批、补缴出让金及补件占用的时间。
承诺办结时限:10个工作日,不含公示、上报政府审批、补缴出让金及补件占用的时间。
八、许可收费及依据
不收取任何费用。
九、办理流程
受理地址:云南省楚雄州姚安县栋川镇姚安县人民政府政务服务中心一楼国土资源服务窗口。
受理时间:8:00—11:30,14:30—17:30,法定节假日除外。
(二)受理
对申请材料符合要求的,准予受理,并向申请单位或个人发送《受理通知书》。对申请材料不符合要求且可以通过补正达到要求的,将当场或者在5个工作日内向单位或个人发送《补正材料通知书》一次性告知,逾期不告知的,自收到申请材料之日起即为受理。对不在受理范围或申请材料不符合要求的,将做出不予受理的决定,并发出《不予受理通知书》。
(三)审查
姚安县国土资源局土地利用科审查后提出初步审查意见,发相关科室会审;各相关科室对报件资料进行会审并提出意见,对提出补件或退件的,将予以补件或退件,并说明理由。通过会审后,土地利用科根据相关科室的会审意见,草拟批复文件。
报分管局领导签署审批意见。
办理结果:批复文件。
送达方式:申请人凭缴费凭证到姚安县人民政府政务服务中心一楼国土资源服务窗口领取批复。
十、许可服务
(一)咨询
1.窗口咨询:云南省楚雄州姚安县栋川镇姚安县人民政府政务服务中心一楼国土资源服务窗口。
2.网上咨询:在云南省政务服务网上大厅(http://ynzwfw.yn.gov.cn)“我要问”进行在线咨询。
3.电话咨询。电话号码:0878-5712892。
(二)办理进程查询
申请人可通过云南省政务服务网上大厅查询审批事项办理进程。
(三)监督投诉
1.电话投诉:县纪委监察委驻县国土资源局0878-5711655;县人民政府政务服务管理局;县国土资源局0878-5712892。
2.信函投诉:姚安县国土资源局办公室,通讯地址:姚安县栋川镇宝成路73号,邮政编码675300。
(四)行政复议或行政诉讼
如对本具体行政行为持有异议的,可在60日内依据《中华人民共和国行政复议法》的规定,向县人民政府或州国土资源局申请行政复议,也可以自收到本通知后六个月内依据《中华人民共和国行政诉讼法》的规定,直接向有管辖权的人民法院提起行政诉讼。
姚安县国土资源局
2019年3月13日